Подождите...

Eco 4s котлы - инструкция.pdf

Настройка газового клапана

НАСТРОЙКА ГАЗОВОГО КЛАПАНА

 

 

 

image.png


 

 

image.png

 

 

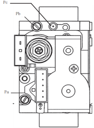
Pa – штуцер измерения давления на входе в газовый клапан

Pb – штуцер измерения давления перед горелкой

Pc – штуцер компенсации давления в камере сгорания

 

a – винт регулировки максимальной мощности

b – винт регулировки минимальной мощности

 

Данный настенный котел может работать на природном газе или сжиженном газе.

Для настройки газового клапана вначале проверьте и, при необходимости, временно измените нижеуказанные параметры платы (согласно процедуре, описанной в разделе «Настройка параметров»): установите F08=100; F09=100.

 

Далее проведите механическую регулировку газового клапана.

 

Механическая регулировка газового клапана

 

Для корректной процедуры регулировки газового клапана необходимо вывести котел на максимальную мощность в режиме ГВС (А) либо воспользоваться функцией «трубочист» (Б).

 

А) Вывод котла на максимальную мощность в режиме ГВС

·         Откройте кран подачи газа и переведите котел в “зимний” режим работы.

·         Включите кран с горячей водой, чтобы поток горячей воды превышал 10 л/мин, и установите температуру горячей воды на самое высокое значение. Таким образом будет обеспечен максимальный запрос на производство тепла.

 

Б) Вывод котла на максимальную мощность при помощи функции «трубочист».

Для облегчения операций калибровки газового клапана существует возможность включить режим максимальной мощности котла (функция «трубочист») непосредственно с  панели управления котлом. Для этого необходимо одновременно нажать и держать нажатыми в течение как минимум 6 секунд кнопки

image.png и image.png.

По истечении приблизительно 6 секунд символы image.png и  image.png начинают мигать. С интервалом в 1 секунду на дисплее появляются чередующиеся надписи “100” и величина температуры подачи. На этом этапе котел работает на максимальной мощности (100%).

Нажав на кнопки image.png или image.png,  можно установить максимальную (100%) или минимальную (0%) мощность котла. 

Измерение входного динамического давления газа 

·         Присоедините выход для измерения положительного давления газового дифференциального манометра к штуцеру для измерения давления (Pa) на входе.

 

Настройка номинальной тепловой мощности (настройка максимального давления подачи газа)

·         Снимите пластиковый колпачок на регуляторе газового клапана.

·         Присоедините манометр к выходу для измерения давления (Pb) на горелке.

·         Поворачивайте латунный винт (a) до достижения давления, соответствующего максимальной мощности, руководствуясь таблицей ниже.

 

Настройка минимальной тепловой мощности (настройка минимального давления подачи газа)

·         Отсоедините провод питания модулятора и поворачивайте винт (b) до достижения давления, соответствующего минимальной мощности, руководствуясь таблицей ниже.

·         Присоедините провод обратно.

·         Установите на место крышку модулятора и надежно закрепите её.

 Примечание: для получения правильных результатов измерения для компенсации разряжения, создаваемого вентилятором в закрытой камере сгорания, присоедините точку измерения отрицательного давления дифференциального манометра к разъему типа “T”. Два других конца соединителя типа “T” должны быть присоединены к компенсационному отверстию камеры сгорания и к выходу (Pc) газового клапана соответственно. (Другой метод: приоткройте уплотнительную крышку камеры сгорания и оставьте свободным выход для измерения отрицательного давления газового дифференциального манометра).

Давление газа на горелке

Модель

Природный газ (G20)

Сжиженный газ (G30)

МАКС

МИН

МАКС

МИН

Давление газа (мбар)

ECO Life 10F

13,0

2,3

32,3

5,3

ECO Life 1.14F, 14F

13,0

2,3

32,3

5,3

 ECO Life 18F

13,0

2,3

32,3

5,3

 ECO Life 1.24F, 24F

13,0

2,3

32,3

5,3

 ECO Life 1.31F, 31F

13,8

2,0

27,0

4,1

ECO Life 1.36F

13,2

1,8

31,5

4,1

Установка параметров после настройки газового клапана

·         После окончания механической регулировки газового клапана необходимо установить параметры F08 и F09 в соответствии с таблицей в п.15.2 «Настройка параметров».

·         Для активации параметров котел необходимо перезапустить.